Размеры изделия:
- внутренний диаметр (d): 90 мм;
- наружный диаметр (D): 160 мм;
- ширина подшипника/внутреннего кольца (B): 40 мм;
- ширина наружного кольца (C): 34 мм;
- общая ширина (T): 42,5 мм;
- наружный диаметр внутреннего кольца (d1): 122,6 мм;
- точка приложения нагрузки на оси (а): 36,8 мм;
- минимальный радиус галтели (rs): 2,5 мм;
- минимальный радиус галтели (r1s): 2 мм;
- вес: 3,439 кг;
- обозначение iso355: T3FC090.
Производительность продукта:
- динамическая грузоподъёмность (C): 295 кН;
- коэффициент материала (A2): 1 кН;
- статическая грузоподъёмность (C0): 396 кН;
- предельная усталостная нагрузка (Cu): 42,5 кН;
- коэффициент (е): 0.42 кН;
- коэффициент статической осевой нагрузки (Y0): 0.79 кН;
- коэффициент осевой нагрузки (Y2): 1.43 кН;
- базовая частота вращения (N ref): 2700 об/мин;
- предельная частота вращения (N lim): 4400 об/мин;
- мин. рабочая температура (Tmin): -40 °C;
- макс. рабочая температура (Tmax): 120 °C.
Частоты подшипников:
- частота вращения по внешнему кольцу (60 об/мин) (BPFO): 8,574 Гц;
- частота вращения внутреннему кольцу (60 об/мин) (BPFI): 11,426 Гц;
- частота вращения тела качения (60 об/мин) (BSF): 6,617 Гц;
- частота прохождения контакта тела качения (60 об/мин) (BRF): 3,309 Гц;
- частота вращения сепаратора (60 об/мин) (FTF): 0,429 Гц.
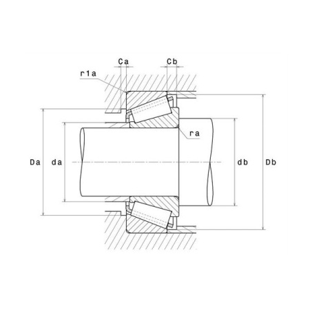
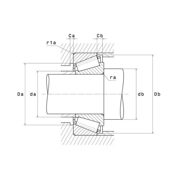
Размеры окружающих деталей:
- максимальный диаметр буртика вала (da max): 102 мм;
- минимальный диаметр буртика вала (db min): 100 мм;
- минимальный диаметр буртика корпуса (Da min): 138 мм;
- максимальный диаметр буртика корпуса (Da max): 150 мм;
- минимальный диаметр буртика корпуса (Db min): 152 мм;
- минимальный зазор (Ca): 5 мм;
- минимальный зазор (Cb): 8,5 мм;
- максимальный радиус галтели (ra max): 2,5 мм;
- максимальный радиус галтели (r1a): 2 мм.
|
Внутренний диаметр, мм
|
90 |
|
Наружный диаметр, мм
|
160 |
|
Ширина, мм
|
42,5 |
|
Страна производства
|
ЯПОНИЯ |