Размеры:
- марка: SNR;
- внутренний диаметр (d): 220 мм;
- наружный диаметр (D): 340 мм;
- ширина подшипника/внутреннего кольца (B): 90 мм;
- внутренний диаметр наружного кольца (D1): 310 мм;
- минимальный радиус галтели (rs): 3 мм;
- кол-во отверстий для пересмазывания: 3;
- b- ширина паза: 15,37;
- диаметр отверстия (k): 7 мм;
- класс радиального зазора: CN;
- вес: 31,8 кг.
Производительность продукта:
- динамическая грузоподъёмность (C): 1530 кН;
- статическая грузоподъёмность (C0): 2110 кН;
- предельная усталостная нагрузка (Cu): 188 кН;
- коэффициент (е): 0.23 кН;
- коэффициент статической осевой нагрузки (Y0): 2.89 кН;
- коэффициент осевой нагрузки (Y1): 2.95 кН;
- коэффициент осевой нагрузки (Y2): 4.4 кН;
- базовая частота вращения (N ref): 1600 об/мин;
- предельная частота вращения (N lim): 2100 об/мин;
- мин. рабочая температура (Tmin): -40 °C;
- макс. рабочая температура (Tmax): 200 °C.
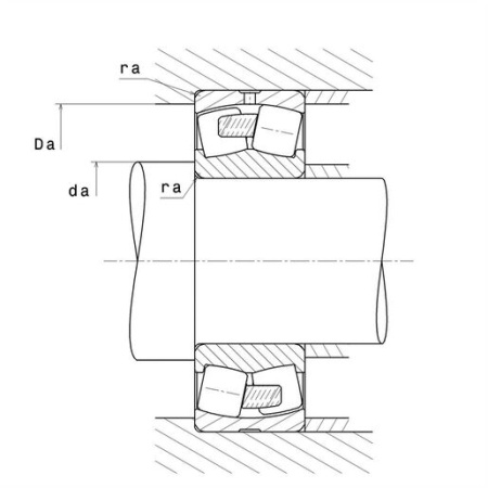
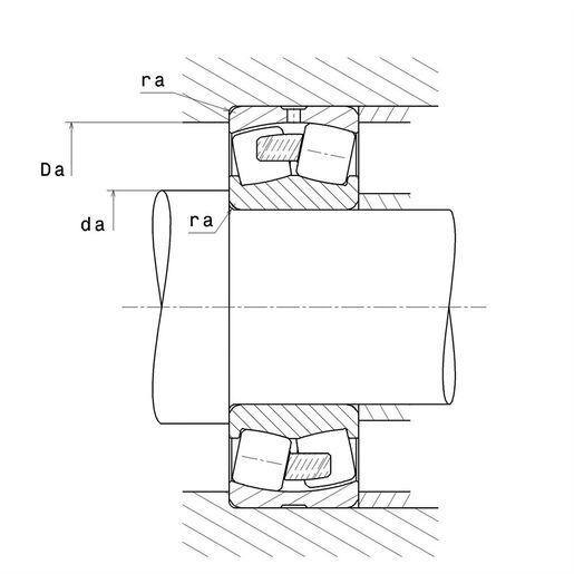
Размеры окружающих деталей:
- минимальный диаметр буртика вала (da min): 232,4 мм;
- максимальный диаметр буртика корпуса (Da max): 327,6 мм;
- максимальный радиус галтели вала и корпуса (ra max): 2,5 мм.
|
Внутренний диаметр, мм
|
220 |
|
Наружный диаметр, мм
|
340 |
|
Ширина, мм
|
90 |
|
Вес, кг
|
33.2 |
|
Страна производства
|
ФРАНЦИЯ |