Размеры:
- внутренний диаметр (d): 60 мм;
- наружный диаметр (D): 130 мм;
- ширина подшипника/внутреннего кольца (B): 31 мм;
- наружный диаметр внутреннего кольца (d2): 79,5 мм;
- внутренний диаметр наружного кольца (D1): 109,9 мм;
- минимальный радиус галтели (rs): 2,1 мм;
- кол-во отверстий для пересмазывания: 0;
- b- ширина паза: 0;
- диаметр отверстия (k): 0 мм;
- класс радиального зазора: CN;
- вес: 1,986 кг.
Производительность продукта:
- динамическая грузоподъёмность (C): 192 кН;
- статическая грузоподъёмность (C0): 186 кН;
- предельная усталостная нагрузка (Cu): 22,7 кН;
- коэффициент (е): 0.24 кН;
- коэффициент статической осевой нагрузки (Y0): 2.75 кН;
- коэффициент осевой нагрузки (Y1): 2.82 кН;
- коэффициент осевой нагрузки (Y2): 4.19 кН;
- базовая частота вращения (N ref): 4700 об/мин;
- предельная частота вращения (N lim): 6400 об/мин;
- мин. рабочая температура (Tmin): -40 °C;
- макс. рабочая температура (Tmax): 200 °C.
Частоты подшипников:
- частота вращения по внешнему кольцу (60 об/мин) (BPFO): 6,281 Гц;
- частота вращения внутреннему кольцу (60 об/мин) (BPFI): 8,719 Гц;
- частота вращения тела качения (60 об/мин) (BSF): 5,915 Гц;
- частота прохождения контакта тела качения (60 об/мин) (BRF): 2,958 Гц;
- частота вращения сепаратора (60 об/мин) (FTF): 0,419 Гц.
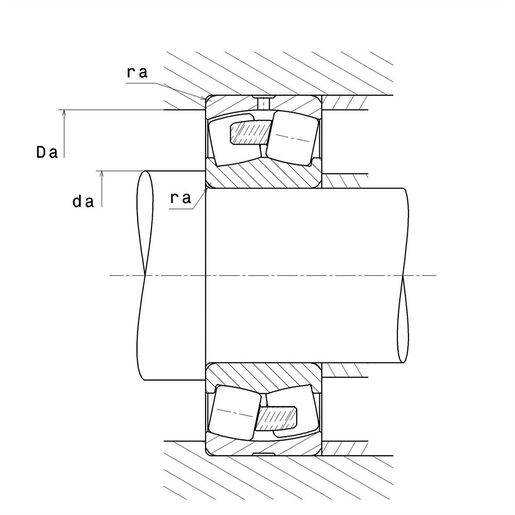
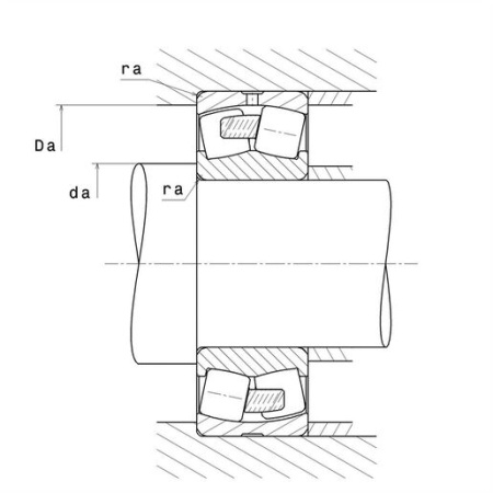
Размеры окружающих деталей:
- максимальный диаметр буртика вала (da max): 0 мм;
- минимальный диаметр буртика вала (da min): 72 мм;
- максимальный диаметр буртика корпуса (Da max): 118 мм;
- максимальный радиус галтели вала и корпуса (ra max): 2 мм.
|
Внутренний диаметр, мм
|
60 |
|
Наружный диаметр, мм
|
130 |
|
Ширина, мм
|
31 |
|
Страна производства
|
ЯПОНИЯ |