Двухрядные самоустанавливающиеся шарикоподшипники ARTNC — это тип подшипников, которые способны компенсировать перекосы валов или монтажных поверхностей, что делает их особенно полезными в условиях, где возможно смещение осей или деформации. Такие подшипники широко используются в различных отраслях промышленности, включая металлургию, энергетику, машиностроение и другие.
Основные особенности двухрядных самоустанавливающихся шарикоподшипников ARTNC:
- самоустанавливаемость: подшипники способны компенсировать угловые отклонения между валом и корпусом, что снижает нагрузку на подшипник и увеличивает срок его службы.
- двухрядная конструкция: два ряда шариков обеспечивают повышенную грузоподъемность и устойчивость к радиальным и осевым нагрузкам.
- высокая надежность: подшипники NTN SNR изготавливаются из высококачественных материалов, что обеспечивает их долговечность и устойчивость к износу.
- универсальность: могут использоваться в различных условиях, включая высокие скорости вращения и тяжелые нагрузки.
- различные исполнения: подшипники могут быть выполнены с различными типами сепараторов, уплотнений и смазок, что позволяет адаптировать их под конкретные условия эксплуатации.
Размеры:
- внутренний диаметр (d): 65 мм;
- наружный диаметр (D): 120 мм;
- ширина подшипника/внутреннего кольца (B): 23 мм;
- наружный диаметр внутреннего кольца (d1): 85,5 мм;
- внутренний диаметр наружного кольца (D1): 102,7 мм;
- минимальный радиус галтели (rs): 1,5 мм.
Производительность продукта:
- динамическая грузоподъёмность (C): 30,7 кН;
- статическая грузоподъёмность (C0): 12,5 кН;
- предельная усталостная нагрузка (Cu): 0,57 кН;
- коэффициент (е): 0.17;
- коэффициент статической осевой нагрузки (Y0): 3.88;
- коэффициент осевой нагрузки (Y1): 3.7;
- коэффициент осевой нагрузки (Y2): 5.73;
- базовая частота вращения (N ref): 5900 об/мин;
- предельная частота вращения (N lim): 7300 об/мин;
- мин. рабочая температура (Tmin): -40 °C;
- макс. рабочая температура (Tmax): 120 °C.
Частоты подшипников:
- собственная частота наружного кольца (BPFO, 60 об/мин): 9,26 Гц;
- собственная частота внутреннего кольца (BPFI, 60 об/мин): 11,74 Гц;
- собственная частота сепаратора (FTF, 60 об/мин): 0,441 Гц;
- собственная частота беговых дорожек (BSF, 60 об/мин): 8,296 Гц.
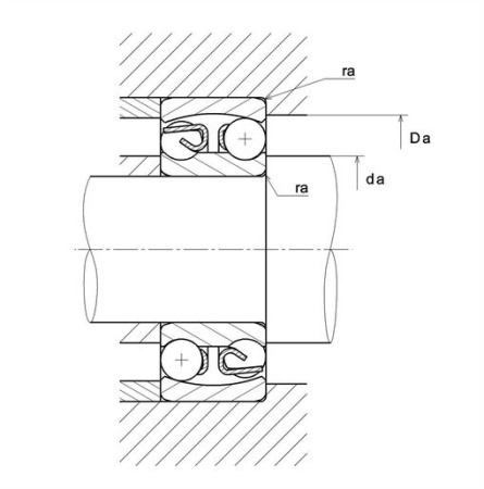
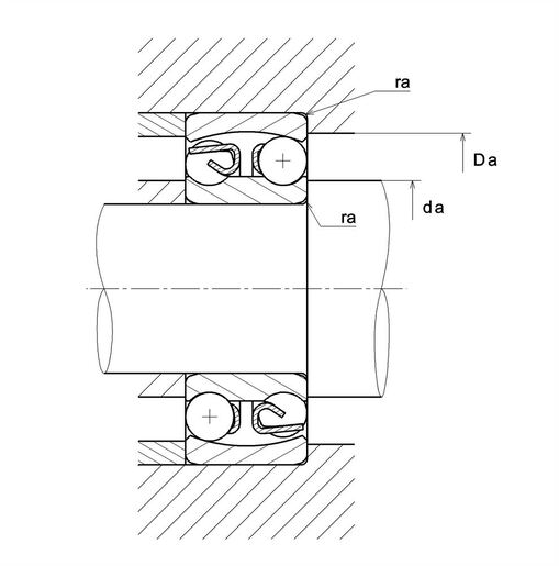
Размеры окружающих деталей:
- минимальный диаметр буртика вала (da min): 73 мм;
- максимальный диаметр буртика корпуса (Da max): 112 мм;
- максимальный радиус галтели вала и корпуса (ra max): 1,5 мм.
|
Внутренний диаметр, мм
|
65 |
|
Наружный диаметр, мм
|
120 |
|
Ширина, мм
|
23 |
|
Страна производства
|
МАЛАЙЗИЯ |