Однорядные радиальные шарикоподшипники, оснащенные уплотнениями или защитными шайбами, обладают высокой универсальностью и характеризуются низким уровнем трения. Их конструкция специально оптимизирована для снижения шума и вибрации, что обеспечивает возможность работы на высоких скоростях вращения. Эти подшипники способны выдерживать как радиальные, так и осевые нагрузки в обоих направлениях. Они просты в установке и требуют меньше технического обслуживания по сравнению с другими типами подшипников. Встроенные уплотнения значительно продлевают срок службы подшипников, удерживая смазочный материал внутри и предотвращая попадание загрязнений из внешней среды.
Преимущества:
- встроенное уплотнение увеличивает срок службы подшипника;
- простая, универсальная и прочная конструкция;
- низкий коэффициент трения и высокие частоты вращения;
- выдерживают радиальные и осевые нагрузки в обоих направлениях;
- не требуют сложного техобслуживания.
Размеры:
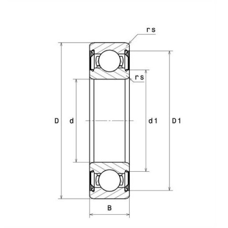
- внутренний диаметр (d): 17 мм;
- наружный диаметр (D): 40 мм;
- ширина подшипника/внутреннего кольца (B): 12 мм;
- наружный диаметр внутреннего кольца (d1): 22,7 мм;
- внутренний диаметр наружного кольца (D1): 35,3 мм;
- минимальный радиус галтели (rs): 0,6 мм;
- класс радиального зазора: CN;
- вес: 0,067 кг.
Производительность продукта:
- динамическая грузоподъёмность (C): 10,1 кН;
- статическая грузоподъёмность (C0): 4,8 кН;
- предельная усталостная нагрузка (Cu): 0,22 кН;
- коэффициент (f0): 13.2 кН;
- базовая частота вращения (N ref): 18000 об/мин;
- предельная частота вращения (N lim): 23000 об/мин;
- мин. рабочая температура (Tmin): -30 °C;
- макс. рабочая температура (Tmax): 120 °C.
Частоты подшипников:
- собственная частота наружного кольца (60 об/мин) (BPFO): 3,069 Гц;
- собственная частота внутреннего кольца (60 об/мин) (BPFI): 4,931 Гц;
- собственная частота сепаратора (60 об/мин) (FTF): 0,384 Гц;
- собственная частота беговых дорожек (60 об/мин) (BSF): 4,066 Гц.
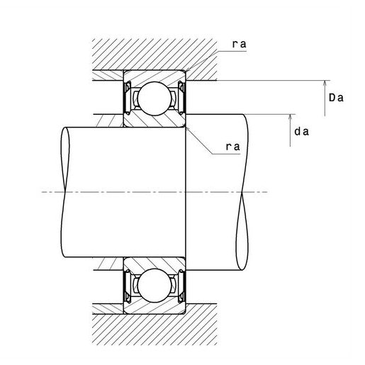
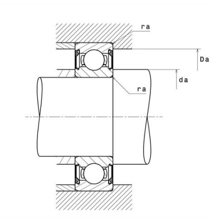
Размеры окружающих деталей:
- минимальный диаметр буртика вала (da min): 21 мм;
- максимальный диаметр буртика вала (da max): 22,7 мм;
- максимальный диаметр буртика корпуса (Da max): 36 мм;
- максимальный радиус галтели вала и корпуса (ra max): 0,6 мм.
|
Сепаратор
|
стальной |
|
Уплотнение
|
стальные пластины с двух сторон |
|
Зазор / преднатяг
|
CN - нормальный зазор |
|
Внутренний диаметр, мм
|
17 |
|
Наружный диаметр, мм
|
40 |
|
Ширина, мм
|
12 |
|
Страна производства
|
МАЛАЙЗИЯ |