Размеры изделия:
- внутренний диаметр (d): 65 мм;
- наружный диаметр (D): 120 мм;
- ширина подшипника/внутреннего кольца (B): 23 мм;
- ширина наружного кольца (C): 20 мм;
- общая ширина (T): 24,75 мм;
- наружный диаметр внутреннего кольца (d1): 90,5 мм;
- точка приложения нагрузки на оси (а): 23,5 мм;
- минимальный радиус галтели (rs): 2 мм;
- минимальный радиус галтели (r1s): 1,5 мм;
- вес: 1,18 кг;
- обозначение iso355: T3EB065.
Производительность продукта:
- динамическая грузоподъёмность (C): 136 кН;
- статическая грузоподъёмность (C0): 148 кН;
- предельная усталостная нагрузка (Cu): 18 кН;
- коэффициент материала (A2): 1 кН;
- коэффициент (е): 0.4 кН;
- коэффициент статической осевой нагрузки (Y0): 0.81 кН;
- коэффициент осевой нагрузки (Y2): 1.48 кН;
- предельная скорость при смазывании маслом (N lim): 4200 об/мин;
- предельная скорость при смазывании консистентной смазкой (N lim): 3100 об/мин;
- мин. рабочая температура (Tmin): -40 °C;
- макс. рабочая температура (Tmax): 120 °C.
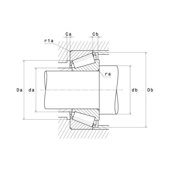
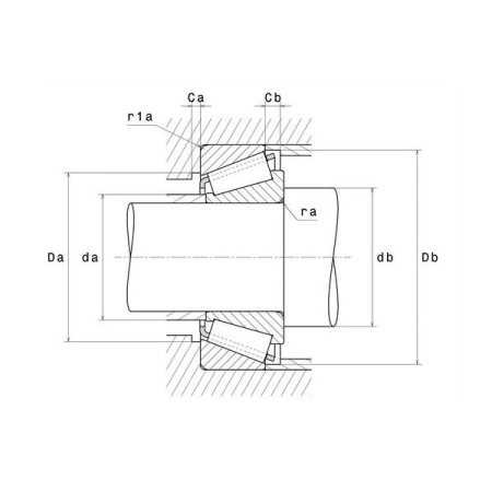
Размеры окружающих деталей:
- максимальный диаметр буртика вала (da max): 77 мм;
- минимальный диаметр буртика вала (db min): 75 мм;
- минимальный диаметр буртика корпуса (Da min): 106 мм;
- максимальный диаметр буртика корпуса (Da max): 111,5 мм;
- минимальный диаметр буртика корпуса (Db min): 113 мм;
- минимальный зазор (Ca): 4 мм;
- минимальный зазор (Cb): 4,5 мм;
- максимальный радиус галтели (ra max): 2 мм;
- максимальный радиус галтели (r1a): 1,5 мм.
|
Сепаратор
|
стальной |
|
Уплотнение
|
без уплотнений (открытый) |
|
Зазор / преднатяг
|
CN - нормальный зазор |
|
Внутренний диаметр, мм
|
65 |
|
Наружный диаметр, мм
|
120 |
|
Ширина, мм
|
24,75 |
|
Вес, кг
|
1.185 |
|
Страна производства
|
ЯПОНИЯ |