Размеры изделия:
- внутренний диаметр (d): 100 мм;
- наружный диаметр (D): 180 мм;
- ширина подшипника/внутреннего кольца (B): 46 мм;
- ширина наружного кольца (C): 39 мм;
- общая ширина (T): 49 мм;
- наружный диаметр внутреннего кольца (d1): 137,5 мм;
- точка приложения нагрузки на оси (а): 41,5 мм;
- минимальный радиус галтели (rs): 3 мм;
- минимальный радиус галтели (r1s): 2,5 мм;
- вес: 5,11 кг;
- обозначение iso355: T3FC100.
Производительность продукта:
- динамическая грузоподъёмность (C): 365 кН;
- статическая грузоподъёмность (C0): 465 кН;
- предельная усталостная нагрузка (Cu): 51 кН;
- коэффициент материала (A2): 1 кН;
- коэффициент (е): 0.42 кН;
- коэффициент статической осевой нагрузки (Y0): 0.79 кН;
- коэффициент осевой нагрузки (Y2): 1.43 кН;
- предельная скорость при смазывании маслом (N lim): 2700 об/мин;
- предельная скорость при смазывании консистентной смазкой (N lim): 2000 об/мин;
- мин. рабочая температура (Tmin): -40 °C;
- макс. рабочая температура (Tmax): 120 °C.
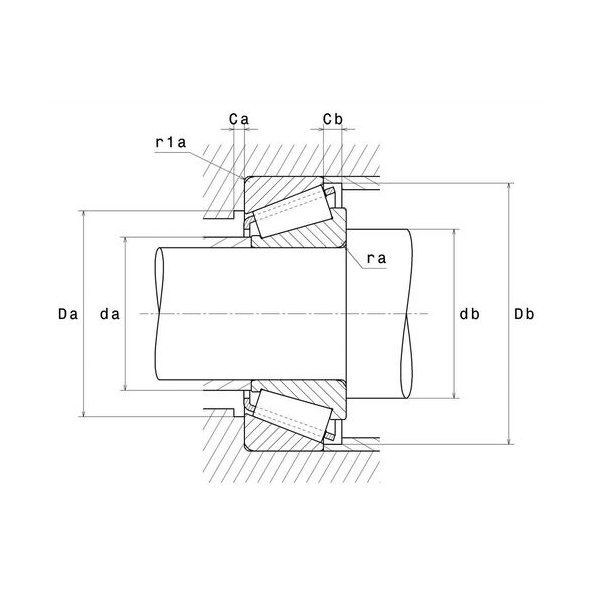
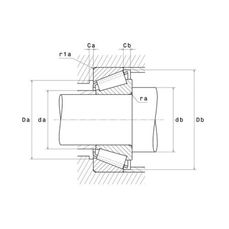
Размеры окружающих деталей:
- максимальный диаметр буртика вала (da max): 114 мм;
- минимальный диаметр буртика вала (db min): 114 мм;
- минимальный диаметр буртика корпуса (Da min): 154 мм;
- максимальный диаметр буртика корпуса (Da max): 168 мм;
- минимальный диаметр буртика корпуса (Db min): 171 мм;
- минимальный зазор (Ca): 5 мм;
- минимальный зазор (Cb): 10 мм;
- максимальный радиус галтели (ra max): 2,5 мм;
- максимальный радиус галтели (r1a): 2 мм.
|
Сепаратор
|
стальной |
|
Уплотнение
|
без уплотнений (открытый) |
|
Зазор / преднатяг
|
CN - нормальный зазор |
|
Внутренний диаметр, мм
|
100 |
|
Наружный диаметр, мм
|
180 |
|
Ширина, мм
|
49 |
|
Вес, кг
|
5.2 |
|
Страна производства
|
ЯПОНИЯ |