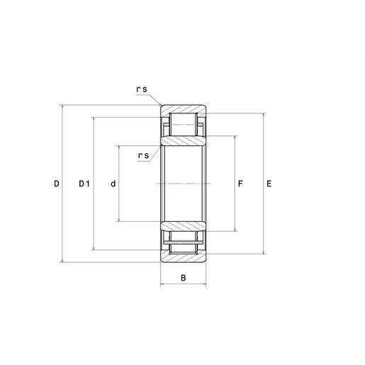
Размеры изделия:
- внутренний диаметр (d): 40 мм;
- наружный диаметр (D): 80 мм;
- ширина подшипника/внутреннего кольца (B): 18 мм;
- диаметр описанной окружности роликов (E): 70 мм;
- диаметр вписанной окружности роликов (F): 50 мм;
- минимальный радиус галтели (rs): 1,1 мм;
- минимальный радиус галтели (r1s): 1,1 мм;
- класс радиального зазора: CN;
- вес: 0,378 кг.
Производительность продукта:
- динамическая грузоподъёмность (C): 48,5 кН;
- статическая грузоподъёмность (C0): 43 кН;
- предельная усталостная нагрузка (Cu): 5,25 кН;
- предельная скорость при смазывании маслом (N lim): 11000 об/мин;
- предельная скорость при смазывании консистентной смазкой (N lim): 9400 об/мин;
- мин. рабочая температура (Tmin): -40 °C;
- макс. рабочая температура (Tmax): 120 °C.
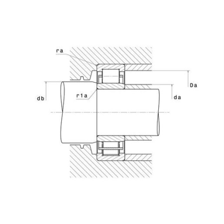
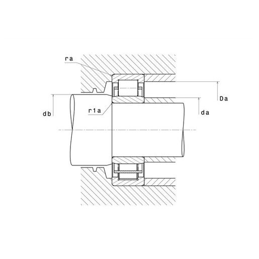
Размеры окружающих деталей:
- минимальный диаметр буртика вала (da min): 46,5 мм;
- максимальный диаметр уступа малого торца (da max): 49 мм;
- минимальный диаметр проставочной втулки внутреннего кольца (db min): 52 мм;
- максимальный диаметр буртика корпуса (Da max): 73,5 мм;
- максимальный радиус галтели (ra max): 1 мм;
- максимальный радиус галтели (r1a): 1 мм.
|
Внутренний диаметр, мм
|
40 |
|
Наружный диаметр, мм
|
80 |
|
Ширина, мм
|
18 |
|
Страна производства
|
ЯПОНИЯ |