Радиально-упорный подшипник NTN-SNR сочетает в себе функции радиального и осевого подшипников, обеспечивая поддержку как радиальных, так и осевых нагрузок. Эти подшипники обеспечивают высокую точность, долговечность и устойчивость к износу.
Они используются в механизмах, где необходимо совмещение обоих типов нагрузок, таких как валики, редукторы и различное промышленное оборудование.
Размеры
- Внутренний диаметр: 12 мм;
- Наружный диаметр: 32 мм;
- Ширина подшипника/внутреннего кольца: 10 мм;
- Точка приложения нагрузки на оси: 14 мм;
- Угол контакта: 40 °;
- Минимальный радиус галтели: 0,6 мм;
- Минимальный радиус галтели: 0,3 мм;
- Класс радиального зазора: CN;
- Вес: 0,036 кг.
Производительность продукта
- Динамическая грузоподъёмность: 7,75 кН;
- Статическая грузоподъёмность: 3,65 кН;
- Предельная усталостная нагрузка: 0,287 кН;
- Предельная скорость при смазывании маслом: 28000 об./мин;
- Предельная скорость при смазывании консистентной смазкой: 21000 об./мин;
- Мин. рабочая температура: -40 °C;
- Макс. рабочая температура: 120 °C.
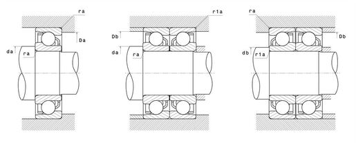
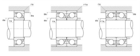
Размеры окружающих деталей
- Минимальный диаметр буртика вала: 16,5 мм;
- Минимальный диаметр буртика вала: 14,5 мм;
- Максимальный диаметр буртика корпуса: 27,5 мм;
- Максимальный диаметр буртика корпуса: 29,5 мм;
- Максимальный радиус галтели: 0,3 мм;
- Максимальный радиус галтели вала и корпуса: 0,6 мм.
|
Внутренний диаметр, мм
|
12 |
|
Наружный диаметр, мм
|
32 |
|
Ширина, мм
|
10 |
|
Вес, кг
|
0.038 |
|
Страна производства
|
ЯПОНИЯ |