Подшипник NTN 6314LLUC3/5K — это шариковый однорядный радиальный подшипник с резиновыми уплотнениями (LLU) с обеих сторон для защиты от пыли и влаги. Класс зазора C3 указывает на увеличенный внутренний радиальный зазор, что позволяет работать при повышенных температурах или высоких оборотах.
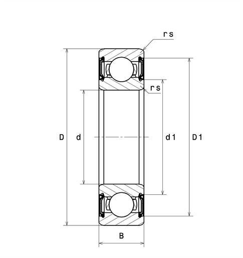
Размеры изделия:
- марка: NTN;
- внутренний диаметр (d): 85 мм;
- наружный диаметр (D): 180 мм;
- ширина подшипника/внутреннего кольца (B): 41 мм;
- минимальный радиус галтели (rs): 3 мм;
- класс радиального зазора: C3;
- вес: 4,23.
Производительность продукта:
- динамическая грузоподъёмность (C): 147 кН;
- статическая грузоподъёмность (C0): 97 кН;
- предельная усталостная нагрузка (Cu): 6,55 кН;
- коэффициент (f0): 13.3 кН;
- предельная скорость при смазывании консистентной смазкой (N lim): 2600 об/мин;
- мин. рабочая температура (Tmin): -25 °C;
- макс. рабочая температура (Tmax): 110 °C.
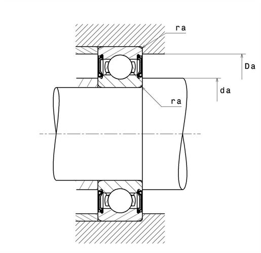
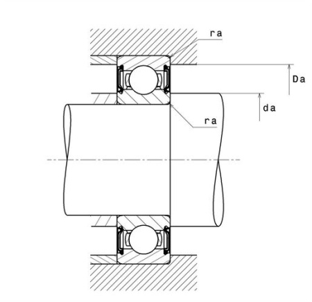
Размеры окружающих деталей:
- минимальный диаметр буртика вала (da min): 98 мм;
- максимальный диаметр буртика вала (da max): 112 мм;
- максимальный диаметр буртика корпуса (Da max): 167 мм;
- максимальный радиус галтели вала и корпуса (ra max): 2,5 мм.
|
Сепаратор
|
стальной |
|
Уплотнение
|
контактные уплотнения с двух сторон |
|
Зазор / преднатяг
|
C3 - зазор больше нормального |
|
Внутренний диаметр, мм
|
85 |
|
Наружный диаметр, мм
|
180 |
|
Ширина, мм
|
41 |
|
Вес, кг
|
4.4 |
|
Страна производства
|
ЯПОНИЯ |