Размеры:
- марка: NTN;
- внутренний диаметр (d): 80 мм;
- наружный диаметр (D): 100 мм;
- ширина подшипника/внутреннего кольца (B): 10 мм;
- минимальный радиус галтели (rs): 0,6 мм;
- класс радиального зазора: CN;
- вес: 0,154 кг.
Производительность продукта:
- динамическая грузоподъёмность (C): 14 кН;
- статическая грузоподъёмность (C0): 13,3 кН;
- предельная усталостная нагрузка (Cu): 0,885 кН;
- коэффициент (f0): 16 кН;
- предельная скорость при смазывании консистентной смазкой (N lim): 3400 об/мин;
- мин. рабочая температура (Tmin): -25 °C;
- макс. рабочая температура (Tmax): 110 °C.
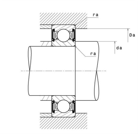
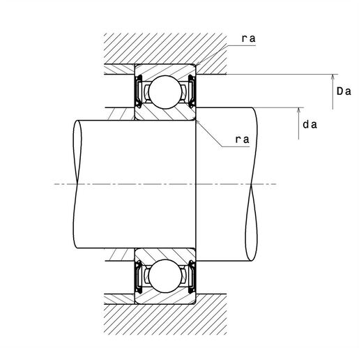
Размеры окружающих деталей:
- минимальный диаметр буртика вала (da min): 84 мм;
- максимальный диаметр буртика вала (da max): 85 мм;
- максимальный диаметр буртика корпуса (Da max): 96 мм;
- максимальный радиус галтели вала и корпуса (ra max): 0,6 мм.
|
Сепаратор
|
стальной |
|
Уплотнение
|
контактные уплотнения с двух сторон |
|
Зазор / преднатяг
|
CN - нормальный зазор |
|
Внутренний диаметр, мм
|
80 |
|
Наружный диаметр, мм
|
100 |
|
Ширина, мм
|
10 |
|
Вес, кг
|
0.154 |
|
Страна производства
|
ЯПОНИЯ |