Размеры изделия:
- марка: NTN;
- внутренний диаметр (d): 55 мм;
- наружный диаметр (D): 80 мм;
- ширина подшипника/внутреннего кольца (B): 13 мм;
- минимальный радиус галтели (rs): 1 мм;
- класс радиального зазора: CN;
- вес: 0,18 кг.
Производительность продукта:
- динамическая грузоподъёмность (C): 17,7 кН;
- статическая грузоподъёмность (C0): 13,3 кН;
- предельная усталостная нагрузка (Cu): 0,915 кН;
- коэффициент (f0): 16.2 кН;
- предельная скорость при смазывании консистентной смазкой (N lim): 4600 об/мин;
- мин. рабочая температура (Tmin): -25 °C;
- макс. рабочая температура (Tmax): 110 °C.
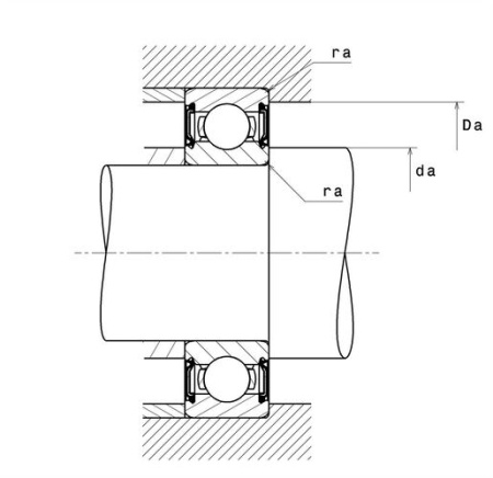
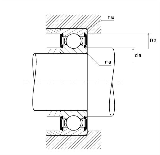
Размеры окружающих деталей:
- минимальный диаметр буртика вала (da min): 60 мм;
- максимальный диаметр буртика вала (da max): 61,5 мм;
- максимальный диаметр буртика корпуса (Da max): 75 мм;
- максимальный радиус галтели вала и корпуса (ra max): 1 мм.
|
Сепаратор
|
стальной |
|
Уплотнение
|
контактные уплотнения с двух сторон |
|
Зазор / преднатяг
|
CN - нормальный зазор |
|
Внутренний диаметр, мм
|
55 |
|
Наружный диаметр, мм
|
80 |
|
Ширина, мм
|
13 |
|
Вес, кг
|
0.2 |
|
Страна производства
|
ЯПОНИЯ |