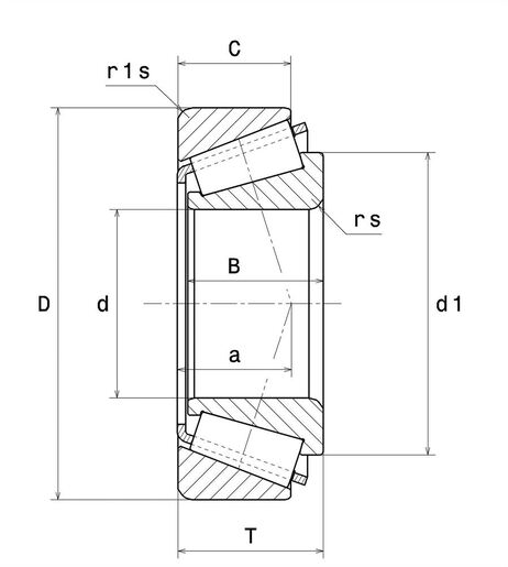
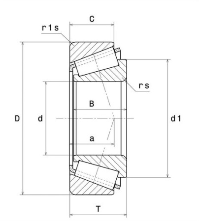
Размеры:
- марка: NTN;
- внутренний диаметр (d): 25 мм;
- наружный диаметр (D): 52 мм;
- ширина подшипника/внутреннего кольца (B): 15 мм;
- ширина наружного кольца (C): 13 мм;
- общая ширина (T): 16,25 мм;
- наружный диаметр внутреннего кольца (d1): 38 мм;
- точка приложения нагрузки на оси (а): 12,5 мм;
- минимальный радиус галтели (rs): 1 мм;
- минимальный радиус галтели (r1s): 1 мм;
- вес: 0,155 кг;
- обозначение iso355: T3CC025.
Производительность продукта:
- динамическая грузоподъёмность (C): 35 кН;
- статическая грузоподъёмность (C0): 34 кН;
- предельная усталостная нагрузка (Cu): 4,15 кН;
- коэффициент материала (A2): 1 кН;
- коэффициент (е): 0.37 кН;
- коэффициент статической осевой нагрузки (Y0): 0.88 кН;
- коэффициент осевой нагрузки (Y2): 1.6 кН;
- предельная скорость при смазывании маслом (N lim): 9800 об/мин;
- предельная скорость при смазывании консистентной смазкой (N lim): 7300 об/мин;
- мин. рабочая температура (Tmin): -40 °C;
- макс. рабочая температура (Tmax): 120 °C.
Размеры окружающих деталей:
- максимальный диаметр буртика вала (da max): 31 мм;
- минимальный диаметр буртика вала (db min): 30,5 мм;
- минимальный диаметр буртика корпуса (Da min): 44 мм;
- максимальный диаметр буртика корпуса (Da max): 46,5 мм;
- минимальный диаметр буртика корпуса (Db min): 48 мм;
- минимальный зазор (Ca): 2 мм;
- минимальный зазор (Cb): 3 мм;
- максимальный радиус галтели (ra max): 1 мм;
- максимальный радиус галтели (r1a): 1 мм.
|
Сепаратор
|
стальной |
|
Уплотнение
|
без уплотнений (открытый) |
|
Зазор / преднатяг
|
CN - нормальный зазор |
|
Внутренний диаметр, мм
|
25 |
|
Наружный диаметр, мм
|
52 |
|
Ширина, мм
|
16,25 |
|
Вес, кг
|
0.158 |
|
Страна производства
|
ЯПОНИЯ |